博车网再交表,继续冲击“事故车第一股”

2025-10-21
来源:DoNews 作者:曹双涛

继今年2月首次递交的IPO失效后,国内最大事故车拍卖平台博车网,再次向港交所提交上市申请,力争成为“事故车拍卖第一股”。

图源:博车网IPO

然而,其IPO之路仍被“增长失速”与“持续亏损”两大问题笼罩。招股书显示,2022年至2025年前七个月,博车网营收分别为3.88亿元、5.18亿元、5.26亿元及2.91亿元,增速从2023年的33.5%骤降至2024年的1.5%,增长动能明显减弱。

盈利表现同样不容乐观。2022年至2024年,博车网年度亏损分别为1.8亿元、1.22亿元和0.36亿元,三年累计亏损达3.38亿元。值得注意的是,2025年前7个月亏损已达0.56亿元,甚至超过2024年全年总和,盈利压力持续加剧。

图源:博车网招股书

形成鲜明对比的是,美国头部事故车平台Copart保持稳健增长。截至2025年7月31日,其营收同比增长9.7%至46亿美元,毛利润与净利润分别增长10.1%和13.9%,达到21亿与16亿美元,呈现出“利润增速高于营收”的健康结构。

Copart的成功根植于美国市场的七大基石:制度化的车源供给、清晰的产权追溯体系、稳定的下游需求、成熟的在线拍卖网络、合规的处置流程、庞大的车辆基盘,以及持续的资本化并购。这些要素共同构建了一个透明、高效、规模化的成熟生态。

图源:基于公开信息整理 DoNews制表

反观国内,事故车市场仍处于发展初期。信息不透明与高利润空间催生大量灰色操作,导致行业长期陷于“小众且隐晦”的境地。

与此同时,博车网正面临上下游的双重挤压:上游,保险公司推进“去中介化”,新能源技术变革也在冲击传统定损与维修体系;下游,受新车价格战与信任危机影响,二手车商经营困难,收车意愿持续低迷。

在产业链的上下夹击之下,博车网陷入“越卖越亏”的恶性循环,规模化盈利前景堪忧。在中美市场土壤存在本质差异的背景下,博车网能否讲好“中国版Copart”的故事,仍需打上一个沉重的问号。

01.

走向大众主流市场的事故车

只要你自认“八字够硬”,豪车梦似乎触手可及:4万元开走宝马X5、3万元带走奔驰C200。商家不仅承诺“黑经理已验车”,甚至支持“第三方道士验车”服务,美其名曰“灵魂售后,全程护驾”。

这类被称为“魂环车”的段子在社交平台持续发酵,网友调侃愈发犀利:“方向盘不换成桃木的谁敢开?”“我怕抢不过原车主”“车里已经坐了五位,我该坐哪儿?”更有梗王直言:“就算林正英来了,也得一手摇铃、一手持桃木剑才敢开。”

段子背后,折射的是“魂环车”、水泡车、火烧车等事故车在暴利驱使下滋生的行业乱象。安徽省合肥市二手车商张磊(化名)坦言:“二手车利润主要来自两块:车价差和贷款返佣。返佣才是大头——客户贷款10万元,车商能拿到1.5万元返点,不然销售为啥都拼命劝人多贷款?”

在“拼好车”这类非规范修复的事故车交易中,利润空间更为惊人。据张磊透露,同款车型正常利润约3-4万元,而“拼好车”能做到5-6万元甚至更高。“没有这样的暴利,谁愿意碰这些车?说穿了,都是在赌。”

暴利催生了一条“收报废车切割修复→伪装翻新→低价售卖”的灰色产业链。以某高速事故中后车身近乎报废的燃油车为例,张磊揭示了其“拼好车”流程:

一是低价采购与精准选型,维修厂以极低成本采购核心拆车件,偏好车架强度低的车型。这类车切割、拼接难度小,最快半天完成切割,大幅压缩时间与修复成本。

二是切割拼接与精细伪装,零件到货后,师傅沿后排座位边缘等位置切割受损车尾并拼接,随后进行“遮丑操作”:填补切割痕迹与焊点凹陷,送入“无尘车间”喷漆。喷漆后还会“做旧处理”——该新的抛光打蜡,该旧的刻意留痕,确保通过漆膜仪检测,外观与正常车辆无异。

三是包装上市与审车“包过”,试驾完成后,车辆以“美女二手准新车+低价”为噱头吸引客户。只要修复车能通过年审,部分车商便通过“合作渠道”,以几百元费用提供“包过”服务,助其流入市场。

事故车流通环节的不透明与安全隐患,构成行业核心痼疾。多数消费者对其存在天然抵触,认为“安全性存疑”“信息不透明”。央视曾多次曝光二手车市场“隐瞒车况”乱象,导致消费者“谈事故车色变”,信任度极低。这使得事故车在国内长期处于小众且隐晦的状态。

灼识咨询报告指出,2023年中国事故车拍卖市场规模仅约86.7亿元,远低于二手车市场万亿规模。相比之下,2023年国内全行业规模,仅有Copart 46亿美元营收的26.54%。

“国内事故车市场要想发展到美国那样的成熟规模,难度极大。关键是要打破信息差,让消费者能方便、低成本地获取完整维修和出险记录。”山东省枣庄市二手车商李子峰(化名)指出。

但他也坦言:“一旦客户真看到这辆车泡过水、有过火,或出过高速大事故,哪怕价格再低,又有几个人敢接手?”网络平台上那些低价“魂环车”确实有买家,但这样的客户终究是少数。

“大多数人心里对事故车还是犯怵。消费者不敢买,维修厂和车商就越要把车包装得天衣无缝,消费者就越不敢卖。事故车就这样被锁死在小众市场里,成了个难解的死循环。”

事故车市场的“小众”属性,叠加其非标、低频的交易特性,对博车网的成长性与资本估值构成了根本性制约。

一方面,与淘宝、拼多多等依托“标品—轻资产—高流量—快周转”模式实现良性循环的综合电商不同,二手平台长期受困于“非标品—重资产—高信任成本—低周转效率”的连锁困境。

尽管部分平台通过收缩品类、提升效率来改善利润,但其底层逻辑仍受制于结构性难题,盈利规模与稳定性始终难以比肩综合电商。

博车网既存在二手电商平台相似的问题,又面临“风控重、争议多、季节波动大”等特有挑战。例如,夏季暴雨导致水泡车短期内激增,形成“脉冲式”供应压力。平台需在有限时间内完成大批量车辆的检测与上线,对运营响应与资金周转构成双重考验。一旦处置仓促,极易出现车况描述偏差,引发交易纠纷。

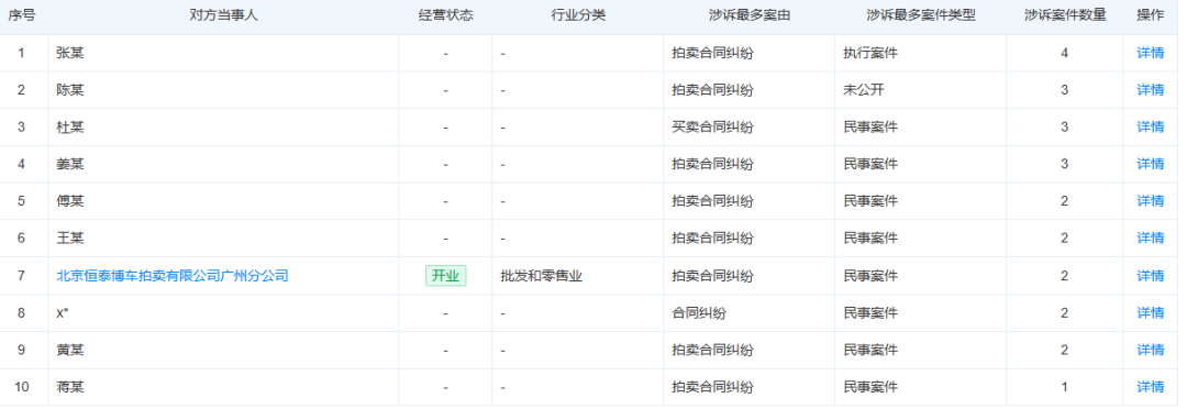
天眼查显示,博车网主体公司涉及多起司法案件,其中大量为拍卖合同纠纷,折射出其在复杂车况与权属管理方面持续承压。

图源:天眼查

另一方面,有限的市场规模直接制约了平台的增长空间,使其难以支撑资本市场的增长预期。和Copart 426.48亿美元高市值形成反差的是,博车网在2025年初通过回购将估值推高至60亿元后,随着IPO折戟,估值泡沫迅速破裂,目前实际价值已回落至30亿元区间,甚至面临进一步下探的压力。

估值受限对本就现金流紧张的博车网而言,无疑是雪上加霜。招股书显示,其现金及现金等价物在2024年末达到1.94亿元的高点后急剧下滑,至2025年7月末仅余8237.4万元,较2024年末大幅减少57.5%。

尽管2025年8月末小幅回升至1.22亿元,但仍低于2024年同期水平,反映出公司流动性储备持续承压,营运资金消耗显著。

图源:基于博车网招股书整理 DoNews制图

02.

保险变革与新能源冲击下,盈利模式承压

在博车网深陷估值下滑压力之际,保险行业的深度变革正进一步加剧其盈利困境。

河南省周口市二手车商曹阳(化名)表示,当前国内事故车已形成固定流转链条:车辆出险后,经车主报案、保险公司定损,若车主接受“推定全损”方案,保险公司将收回车辆并交由拍卖平台处置,最终由认证修理厂竞拍后维修转售或拆解零部件。

图源:博车网招股书

博车网的核心角色,正是承接保险公司的车辆处置需求,通过拍卖服务获取收入。其收费模式清晰:单车竞拍收取599元费用及保证金;批量竞拍12台则为999元加1万元固定保证金。个人买家若想参与,需由平台销售协助对接有资质的修理厂,服务费用由双方协商确定。

这一模式高度依赖上游保险公司的车源供给,而车源规模又取决于车主对“推定全损”的接受度——只有当车主清晰认知到“维修的隐性成本与风险”远超“推定全损的实际收益”时,才愿意让保险公司收车。这一环节直接决定了博车网的可拍卖车源数量,也使其业务被动绑定于保险行业的处置需求。

所谓“推定全损”,是保险公司对事故车的标准处理机制:当车辆维修成本超过实际价值的50%~70%(或车辆已无修复价值)时,保险公司将按车辆实际价值赔付,而非承担维修费用。在这一机制下,博车网与保险公司形成“上下游依存关系”,且前者对后者的依赖度显著更高。

招股书数据显示,2022年至2025年前七个月,博车网平台上分别有71.4%、63.4%、56.6%及52.6%的事故车交易量来自三大上游车源方。

更值得关注的是,博车网核心收入结构正发生深刻变化。2022年至2025年前七个月,事故车及二手车拍卖的直接收入占总营收比重从72.7%波动降至58.0%。传统拍卖业务的主导地位逐渐松动,盈利支柱的稳定性面临考验。

图源:博车网招股书

如果说保险行业的车源掌控是“显性挑战”,那么新能源汽车普及带来的行业底层逻辑变革,则是博车网需应对的“隐性冲击”。新能源汽车的价值波动,正彻底打破传统车辆价值评估体系,引发一系列连锁问题。

在燃油车时代,保险行业按“新车购置价每年固定折旧”核算车辆承保金额(通常每年折旧10%),体系相对成熟稳定。但近两年汽车市场价格战加剧,尤其是新能源汽车价格波动脱离传统规律。2024年车市价格战导致二手车价“断崖式下滑”,燃油车也受波及。数据显示,三年车龄的新能源汽车,保险公司承保金额与实际二手车价平均相差6万元;燃油车平均相差4万元。

这种价值偏差催生双重困境:一方面,若保险公司赔付金额低于车主预期,易引发纠纷。例如,部分车主因赔付不足质疑定损合理性,导致其更换保险公司,直接冲击保险公司的车险收入。

另一方面,若赔付高于实际市场价,则可能催生“刻意制造事故以获取高额赔付”的骗保冲动。例如,某极氪001车主2022年以29.9万元购车,事故后获赔超27万元,引发部分车主在车友群中讨论“如何让车辆被推定全损”。此类行为不仅推高保险公司的赔付风险与运营成本,还可能引发保费普涨,最终损害全体车主利益。

价值评估体系的重构,正让身处中间环节的博车网承受连锁压力。一方面,保险公司为控制成本开始自主布局。博车网招股书提到,“2022年某大型保险公司曾自建拍卖平台,直接导致博车网业务量下滑”。尽管2023年双方恢复合作,但“去中介化”的威胁已然显现。图源:博车网招股书

另一方面,新能源汽车的特性加剧了博车网的运营难度。其招股书虽提及新能源汽车损失率是燃油车的1.5-2倍,理论上可推高“推定全损”车源量,但新能源事故车残值低、定价难,叠加二手车商因市场波动承压,反而给博车网的拍卖定价与车源流转效率带来新的挑战。

03.

上下游挤压暴露模式脆弱性

“今年二手车生意实在太难做了。刚过去的9月,店里仅有15组客户,比去年少了四成。最后就成交了5台车,跌了整整六成。”山东省枣庄市的二手车商刘明(化名)谈起近况,语气中透着无奈。

在他看来,生意惨淡背后有两重原因:一是消费者普遍担心车辆快速贬值,看车时格外谨慎,成交周期明显拉长;二是部分车企为冲销量,将新车包装成“零公里二手车”低价入市,进一步挤压了传统二手车的价格空间。

行业整体困境在数据中体现得更加直观。中国汽车流通协会统计显示,近年来有92%的二手车商处于亏损状态。百强企业中,超七成毛利率仅维持在4%~6%之间,毛利率超过10%的企业仅有4家,另有29家已跌破4%的生存红线。

为在寒冬中求生,转型已成为行业共识。张磊透露,他的车行已逐步退出事故车业务,转向个人精品二手车。

虽然“拼好车”利润高,但前提是能卖得掉。现在连正常车源的精品车都难出手,更别说那些动过“大手术”的车了。尤其在社交媒体时代,一旦售出车辆出现问题,口碑崩塌几乎是瞬间的事。“如果真因为卖事故车出了纠纷,店里压着的那几百万库存该怎么办?这个风险,我们不敢再冒了。”

更关键的是,张磊的车行已完全停止收购二手新能源车。他解释得很直白:首先,燃油车可通过底盘、发动机等直观判断车况,而新能源车电池的健康状态难以准确评估,收购后若出现衰减极易引发纠纷;其次,主机厂频繁降价,使二手车商面临存货贬值风险;最后,威马、高合等品牌接连倒闭,导致其二手车沦为滞销品,部分车商因此亏损几十万至上千万,严重挫伤了市场信心。

刘明也持相同观点。他坦言,尽管修了多年燃油车,但对新能源车却无从下手。“以压铸一体化车身为例,厂家将上百个零件压成整体,虽然提升了生产效率,但维修时却需要“化整为零”。大型压铸件一旦受损,普通修理厂根本无法处理,需要专用夹具和高吨位机械臂,设备投入巨大,技术门槛又高,结果维修业务完全被4S店垄断。”

刘明修理新能源汽车遭遇的困境,仅是行业缩影。据教育部、人社部与工信部联合预测,到2025年,我国新能源汽车人才缺口将达103万人,其中售后维修人才缺口占比高达80%,专业人力短缺正成为制约行业修复能力的关键瓶颈。

二手车商的谨慎态度与新能源汽车价格战对残值的冲击,已迫使博车网陷入“以价换量”的恶性循环。招股书显示,2022年至2025年前7个月,博车网事故车与二手车拍卖数量虽整体递增,却“越卖越亏”。

其中,事故车平均拍卖价从42,666元/辆跌至37,314元/辆,降幅达12.6%。二手车均价更是“三连降”,从44,263元/辆持续降至32,189元/辆,累计跌幅达27.3%。

图源:博车网招股书

图源:博车网招股书

客单价持续下滑不仅侵蚀利润,更凸显其高昂的销售成本。2025年前7个月,博车网销售成本达1.76亿元,占营收比重60.8%。尽管较2024年全年(62.6%)略有下降,但仍处于高位,反映出其渠道与控制能力持续承压。2022年至2025年前7个月,其毛利率从44.4%波动下滑至39.2%。

图源:博车网招股书

图源:博车网招股书

从后续趋势看,国内新车价格仍存下探空间。当前新能源汽车行业已进入深度洗牌期,小鹏汽车董事长何小鹏预计,淘汰赛还将持续5年,最终可能仅剩5家品牌存活。在生存压力下,“以价换量”仍是主机厂的核心策略。

新车价格战的战火不断向二手车市场蔓延。这种“新车降价→二手车残值跳水→保险公司压低保额→博车网拍卖价下行”的连锁反应,让博车网商业模式的脆弱性暴露无遗:高度依赖上游车源,却无力抵抗价格体系的震动;聚焦事故车细分赛道,却受困于新能源汽车带来的价值评估与维修体系变革。

在此背景下,博车网冲击IPO的动作,更像是在行业寒潮中寻求短期输血。但在其商业模式的根本矛盾尚未解决之前,IPO能否成为真正的救命稻草,仍是一个沉重的问号。

第一时间获取股权投资行业新鲜资讯和深度商业分析,请在微信中搜索“融中财经”公众号,或者用手机扫描左侧二维码,即可获得融中财经每日精华内容推送。

融中 热门

您可能也喜欢的文章