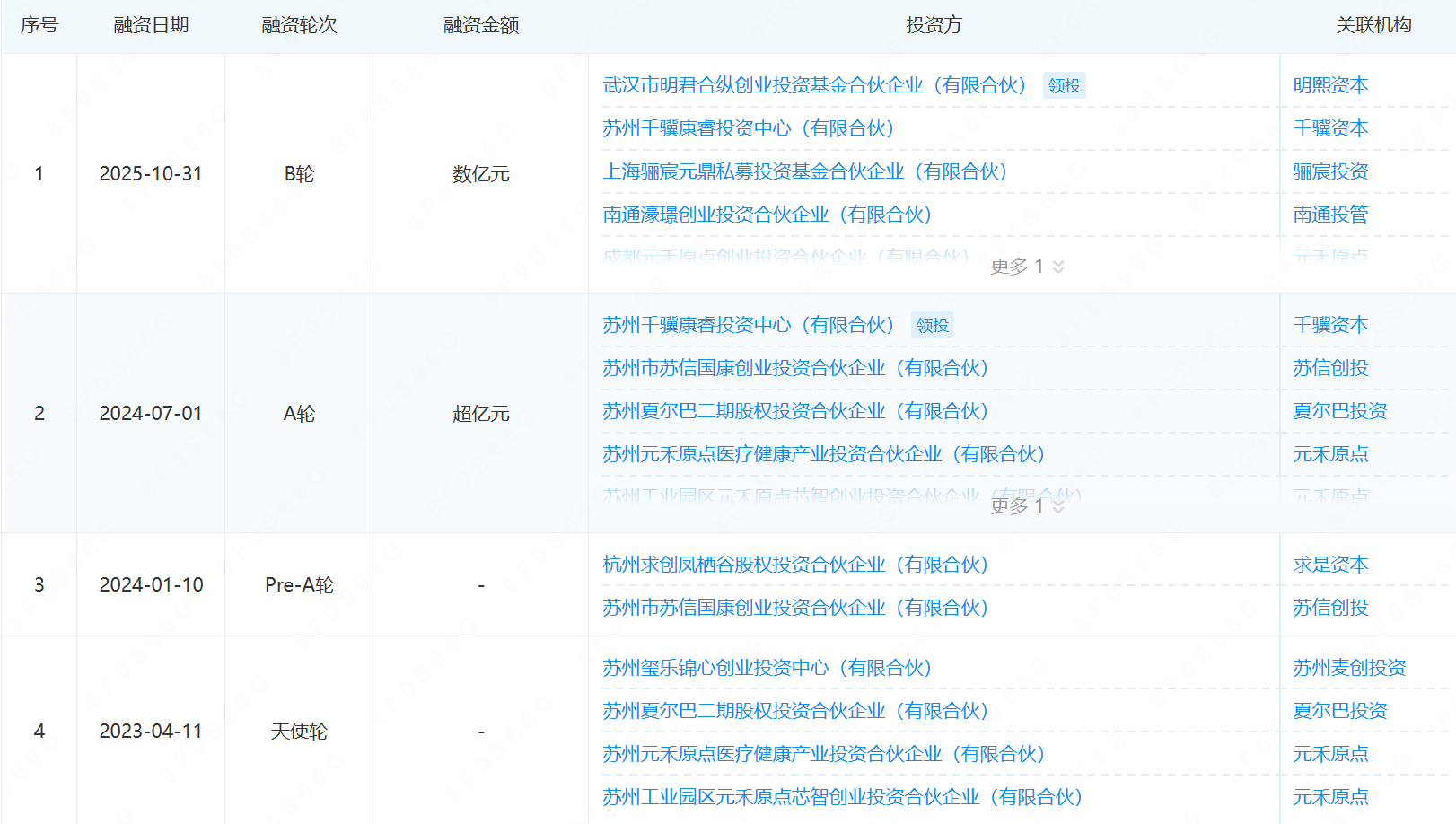
融中财经获悉,近日,敏捷医疗宣布完成数亿元B轮融资。本轮融资由明熙资本领投,元禾控股、骊宸投资、南通投管跟投,并获老股东千骥资本、元禾原点的持续追加投资。截至目前,敏捷医疗已完成四轮融资。

敏捷医疗成立于2020年,专注于以手术机器人为代表的智能外科产品的研发与产业化,致力为临床开发提供创新、实用、普惠的手术机器人。基于对用户需求和临床痛点的洞察,公司组建了由医工融合的手术机器人专家和多学科专业人才组成的手术机器人开发团队,构建了覆盖机、电、光、算、软、医的技术创新平台,形成了从概念到产品、自底层技术至系统集成的手术机器人全链路开发能力。
目前,敏捷医疗自主研发的AGIBOT腔镜手术机器人已获得国家药品监督管理局(NMPA)注册批准上市,并在南京大学医学院附属鼓楼医院、郑州大学第一附属医院、苏州市立医院等三甲医院完成了超百例复杂术式临床应用。

本轮融资资金将重点用于敏捷医疗深化全球商业化拓展、加速手术机器人产品管线研发迭代和升级前沿技术平台。未来,敏捷医疗将继续研发力反馈等方向,强化AI等能力,让手术机器人有更强的感知及决策能力,实现智能化升级。同时,其也启动产品海外认证工作,与多个海外市场的潜在临床合作伙伴接洽,筹备出海征程。
免费发布投融资信息,或删改补充快讯内容,请添加融中小助手微信(ID:irongzhong)