融中财经获悉,近日,“杭州六小龙”之一的强脑科技完成约20亿元融资。本轮融资由知名机构IDG、华登国际领衔,并引入蓝思科技、韦尔股份等产业链战略投资者。强脑科技相关负责人表示该融资募集资金将用于全力加速脑机接口核心技术研发、极限工程突破、产品规模化、量产落地。该笔融资还创下脑机接口领域仅次于埃隆·马斯克旗下公司神经连接(Neuralink)外的全球第二大融资纪录。

强脑科技创立于2015年,由创始人韩璧丞率领团队在哈佛大学创新实验室孵化而来,主要致力于非侵入式脑机接口技术的研发。截至目前,该公司已推出智能仿生肢体、脑机智能安睡仪等多款产品。它与游戏科学、深度求索、宇树科技、云深处科技以及群核科技并称“杭州六小龙”。

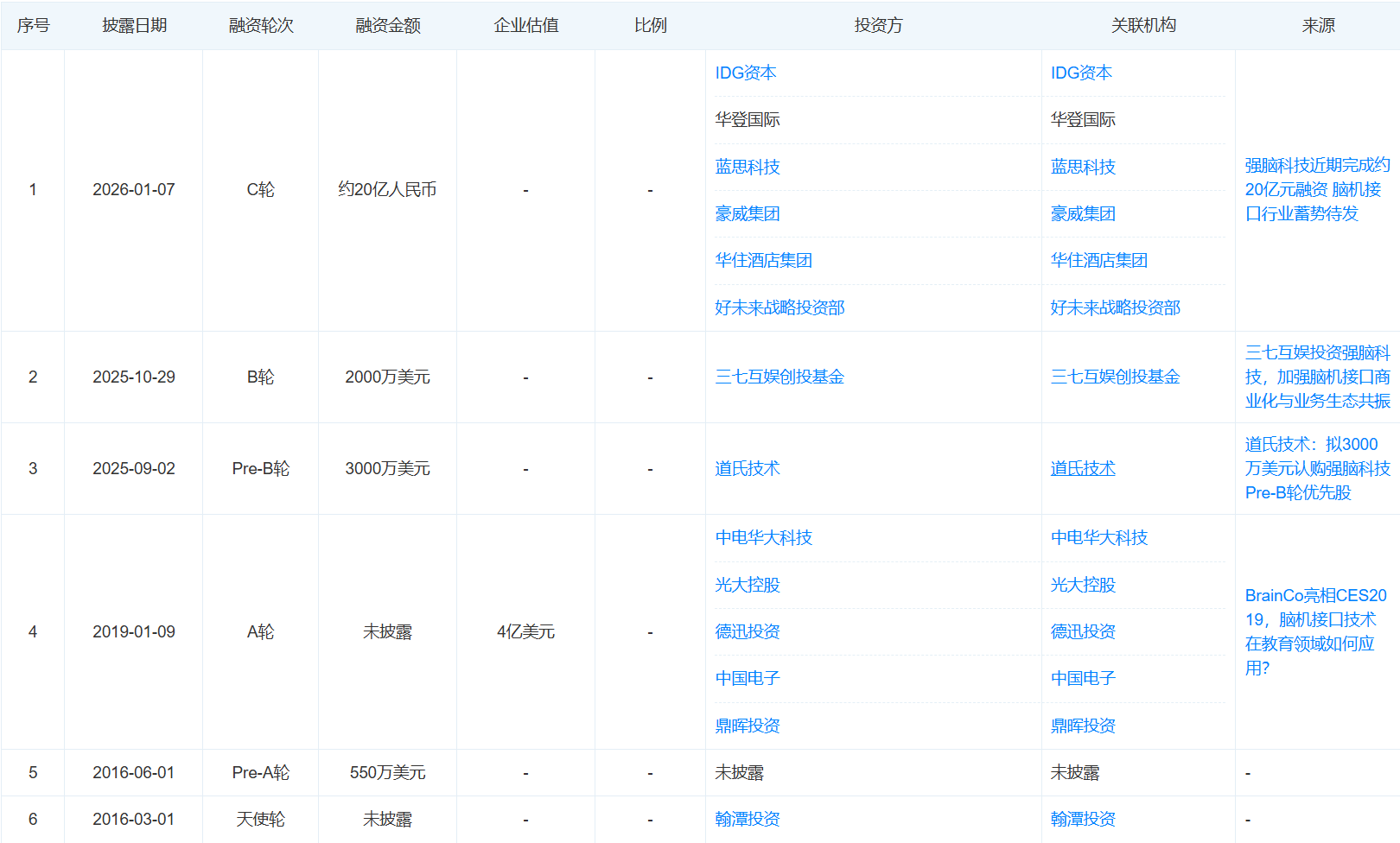
天眼查数据显示,强脑科技的于2016年完成天使轮及Pre-A轮融资。2019年完成4亿美元A轮融资后,公司估值实现大幅攀升;2025年公司融资步伐加快,先后完成道氏技术3000万美元Pre-B轮融资、三七互娱2000万美元B轮融资。据彭博社此前报道,强脑科技在2025年已以超13亿美元估值完成1亿美元IPO前融资,并计划于香港或中国内地启动首次公开募股。
强脑科技2026年这一巨额注资正值全球脑机接口赛道热度攀升之际,投资方除专业投资机构外,还吸引了许多跨界投资者,如华住酒店集团、好未来战略投资部、此前还有三七互娱创投基金等投资方都纷纷入局。
脑机接口行业正处于从 “实验室技术” 向 “规模化产业” 跨越的黄金发展期,强脑科技等头部企业的融资与量产进展,将进一步加速国产替代进程,推动脑机接口技术从 “小众医疗” 走向 “大众应用”。
目前,脑机接口已被纳入国家 “十五五” 规划前瞻布局的六大未来产业之一,成为新的经济增长点。这将进一步推动脑机接口从实验室走向产业化,在科技加持下“心想”正在“事成”。中投顾问报告显示,2025年中国脑机接口市场规模突破38亿元,医疗健康应用占比56%,2030年预计突破100亿元。“十五五”期间我国计划投入超500亿元支持脑机接口产业,目标到2030年培育2-3家全球领军企业,产业规模占全球25%。
免费发布投融资信息,或删改补充快讯内容,请添加融中小助手微信(ID:irongzhong)