融中财经获悉,10月14日,零重力飞机工业(合肥)有限公司正式宣布完成A++++轮融资。本轮融资金额近3亿元,由四川制造业协同发展基金与方广资本注资。本轮融资将用于推进eVTOL ZG-ONE鹊飞适航取证进程与ZG-T6试飞、保障eCTOL锐翔RX1E-A、RX1E-S电动固定翼飞机规模化量产与稳定交付。
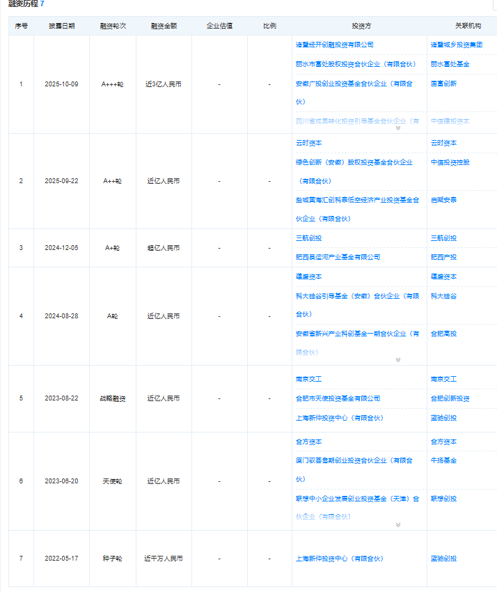
值得注意的是,在短短两个月内,零重力飞机工业连续完成三轮密集融资。10月9日,零重力飞机工业宣布完成近3亿元A+++轮融资,集结中信建投、洛阳文旅集团、海南祥聚等六家机构,累计融资金额近7亿元。
(备注:天眼查数据截止至2025.10.9)
零重力飞机工业成立于2021年,公司以新能源航空器整机研制为核心,布局电动固定翼飞机(eCTOL)、电动垂直起降飞行器(eVTOL)等多型号产品,覆盖低空经济发展不同阶段的多元化应用场景。
资料显示,零重力成立之初拥有4位联合创始人,创始人、CEO李宜恒和COO石红均为90后。其中,来自河南的95后南航博士李宜恒,在读研期间曾与导师朱清华教授筹建了一支不到10人的小团队,在18个月时间里研发的旋翼类载人飞行器“YTT系列型飞机”,拿下了中国第46个由民航局颁发的“TC”证。
与传统无人机不同的是,eVTOL可以载人载物,具有低碳环保、噪声低、成本低、无需跑道、稳定性好等优势,被视为低空经济的重要载体之一,也是未来空中交通的重要工具。
当前,国内新能源航空器研发正处于快速发展阶段,亿航智能、时的科技、上海峰飞等公司都着力布局eVTOL航空器赛道。其中,亿航智能作为全球首家上市的城市空中交通企业,在今年三月成为全球首个具备无人驾驶载人eVTOL完整商业运营资质的公司。上海沃兰特航空技术有限责任公司则于近日宣布完成数亿元B轮融资。

图源“森蔚汽车”
目前,我国低空经济快速发展,中国民航局预测低空经济市场2025年将达1.5万亿元,2035年突破3.5万亿元。作为核心载体的 eVTOL,预计到2030年国内累计需求超过1.6万架。
免费发布投融资信息,或删改补充快讯内容,请添加融中小助手微信(ID:irongzhong)