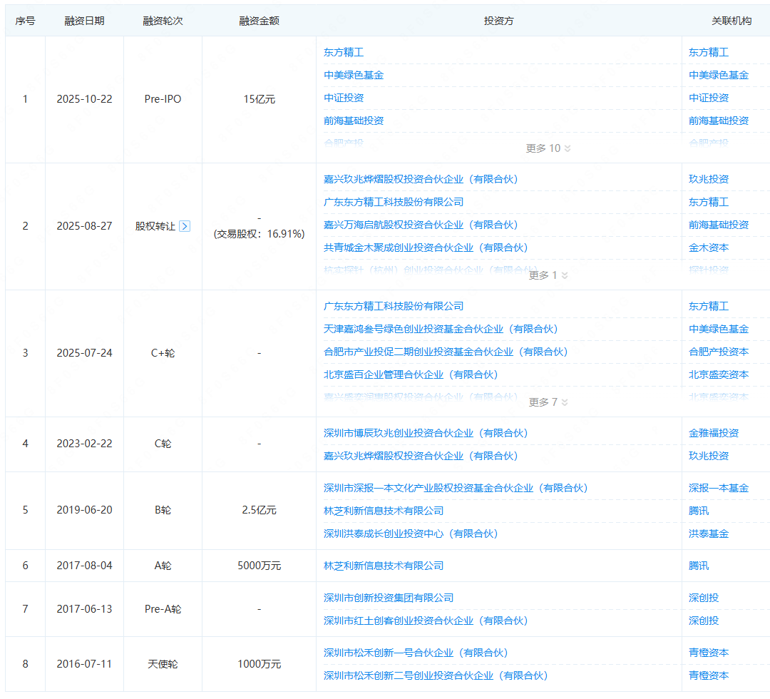
融中财经获悉,近日,乐聚机器人宣布完成近15亿元Pre-IPO轮融资,本轮融资由深投控资本、深圳龙华资本、前海基础投资、石景山产业基金、东方精工、拓普集团、中信金石、中证投资、道禾长期投资、盛奕资本、联新资本、探针创投、合肥产投、玖兆投资及中美绿色基金联合投资。本轮融资将用于强化核心技术研发、深化产业链布局、完善产业场景应用,推动人形机器人迈向大规模量产与多元化场景应用的新阶段。今年7月,乐聚机器人刚刚完成C+轮融资。

乐聚机器人成立于2016年,由十位来自哈工大的师兄弟创立,是一家专注机器人关键共性技术研究、智能机器人产品研发和生产的高科技企业。目前,乐聚已陆续推出通用人形机器人、编程教育系列机器人、医院物流机器人、重载运输机器人等多款智能机器人产品及衍生品,持续专注于机器人在科研教育、智慧医疗、重型运载、智能家居、工业制造等多元场景下的落地应用。
此前,公司已完成多轮融资,集结了深创投、腾讯、松禾资本、洪泰基金等投资方,并与华为云、海尔、中国移动、江苏亨通等行业领军企业建立战略合作关系。
2025年多家专注人形机器人的企业实现商业化落地,松延动力、宇树科技、众擎机器人、灵宝CASBOT、星海图等企业的人形机器人产品扎堆在电商平台上售卖。在乐聚官网,通过“在线订购”可跳转到线上电商平台,旗下多款人形机器人,价格从319元到32184元不等上架售卖。
此外,在产业链布局上,乐聚机器人还陆续投资了一批上下游企业,包括泉智博(一体化关节)、立聚动力(电机)、灵心巧手(灵巧手)、刻行时空(数据平台)、具脑磐石(具身大脑)、具识智能(操作系统)等。