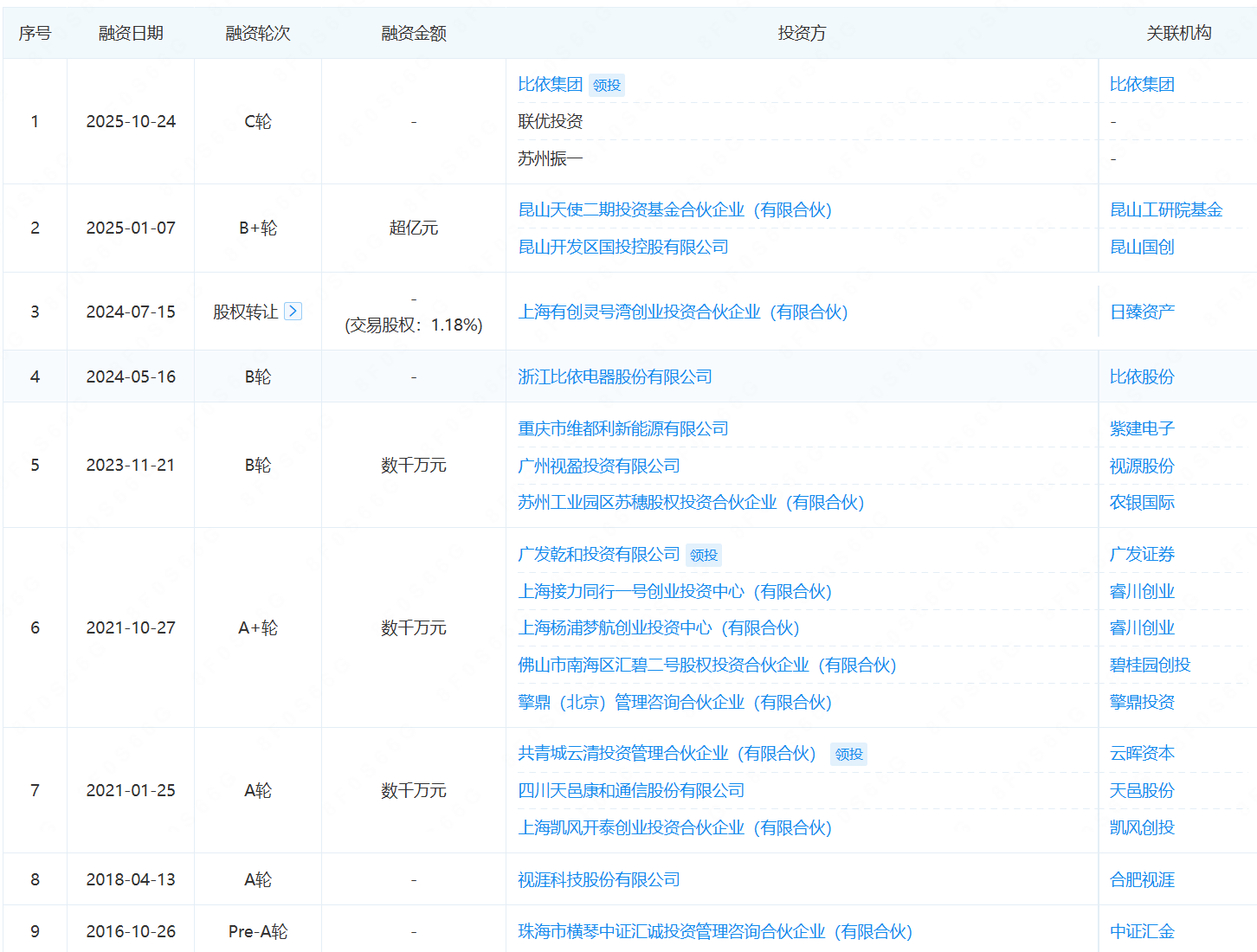
融中财经获悉,近日,AR眼镜核心光波导显示器件提供商——理湃光晶(苏州)科技有限公司宣布完成新一轮融资。本轮融资由老股东比依集团持续加码领投,苏州振一、联优投资跟投。本轮融资将主要用于扩大AR几何光波导的产能规模,强化产业链协同,以保障对核心客户订单的稳定交付。此外,本轮融资是理湃光晶继今年1月B+轮融资后,本年度完成的第二轮融资。

理湃光晶成立于2012年,专注于智能可穿戴设备,其标志性产品为融合了电子、半导体、全息光学波导等技术为一体的可穿戴智能眼镜。作为国内少数掌握几何光波导全链条技术并实现量产的企业,理湃光晶已构建自主知识产权体系与标准化先进产线,年产能达百万套级别。
近年来,随着AI技术的发展,全球可穿戴智能眼镜市场处于快速增长阶段。国内外众多厂商纷纷推出AI智能眼镜,例如Meta推出Ray-Ban Display系列智能眼镜、雷鸟创新推出RayNeo Air 系列、小米推出小米AI眼镜等等,苹果三星等科技公司也都计划推出AI眼镜等。
众赢财富通盘点,当前上游芯片领域,高通 AR1主导高端市场,恒玄等国产厂商在中低端加速替代;中游歌尔股份绑定 Meta、小米等头部客户,成为 ODM 龙头;下游博士眼镜等渠道商已建成超 1.2 万个体验门店,完善服务体系。
国际数据公司IDC近日发布的数据显示,2025上半年,全球智能眼镜市场出货量达406.5万台,同比增长64.2%。IDC预计,到2029年全球智能眼镜市场出货量将突破4000万台,其中,中国市场份额将稳步提升,预计五年复合增长率(2024年至2029年)将达到55.6%,增速位居全球首位。