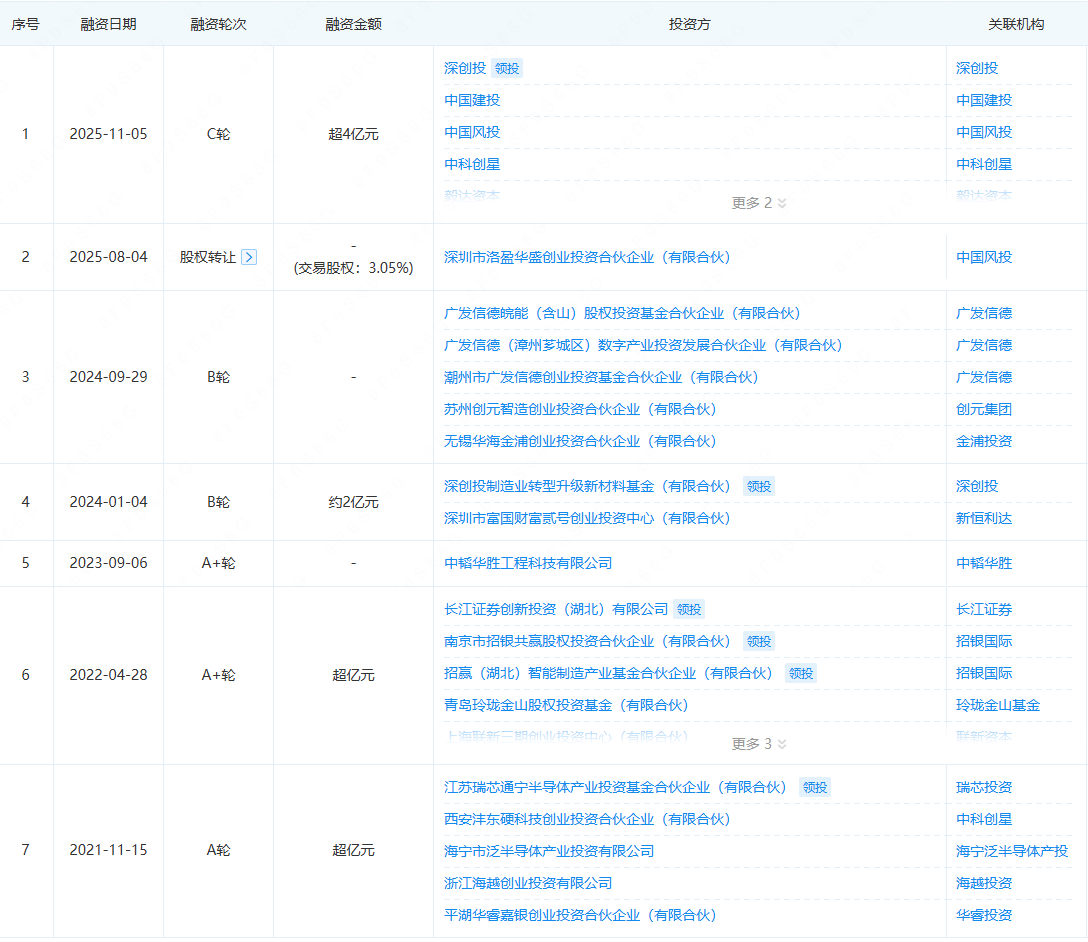
融中财经获悉,近日,精密金属掩膜版(FMM)企业浙江众凌科技有限公司宣布完成超4亿元人民币C轮融资,是目前国内FMM行业最大单笔轮融资。本轮融资由深创投领投,中国建投投资、毅达资本、粤科金融、中科创星、中风投、苏州创元等跟投。截至目前,众凌科技已完成六轮融资。

众凌科技,成立于2020年,坐落于浙江省海宁市泛半导体产业园,产品业务涵盖显示面板、显示终端、VR/AR显示,包括AMOLED用Divide Open Mask、Divide Fine Metal Mask、硅基OLED用Micro OLED Open Mask、显示终端用金属支撑片等高端超精细加工类产品,意图打破超精密金属薄板加工在国内的量产空白。
FMM是 OLED 显示屏幕生产过程中关键治具,通过微米级小孔实现RGB发光材料精准沉积。当前,通过FMM生产的显示屏正广泛应用于智能手机、智能穿戴、平板电脑和笔记本等产品上。据悉,众凌科技是国内唯一具备日本对华禁售的20μm FMM产品量产能力、拥有100%国产invar原材料供应链、G8.6代FMM技术与设备落地能力的企业。

据悉,此次融资资金将用于研发,包括FMM产品迭代、Invar金属极薄带(因瓦合金)国产化、以及光伏与半导体新业务开发;G8.6代FMM产能扩充及海外市场布局;流动资金及IPO储备。
免费发布投融资信息,或删改补充快讯内容,请添加融中小助手微信(ID:irongzhong)